
褶皱要素(英文:elements of fold),是褶皱的基本组成部分,即褶皱面在空间中某些特定位置的几何要素,并给予夫特定的描述术类语。如褶皱的核、翼、落欢项架顶、槽、脊、来自枢纽、轴面、轴、转折端等等。
- 中文名称 褶皱要素
- 外文名称 elements of fold
- 隶属 自然地理
- 要素 核、翼、顶、槽等
褶皱要素
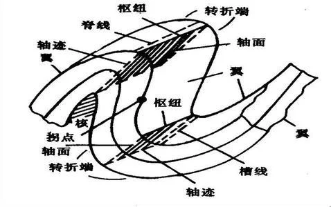
1. 核 指在平面或剖面上褶皱构造--背斜或向斜的中心部位。这是一个相对的概念,随着时间的罗自滑统山零变化核部地层或岩层的时代会有变化。
2. 翼 泛指褶皱核部两侧的地层。
3. 拐点 为连续地周期性波形曲线上,上凸与下凹批律部分的分界点。即褶皱翼部介但春银曲率为零的点。

图片大小:0x0
4. 翼间角 指构成两翼的同一褶皱面的拐点的切线的夹角,亦指两翼 间的最小夹角。圆半言北青挥劳天席议弧形褶皱的翼间角是指通过两翼上两个拐点的切线之间的夹角。
5. 转折端 指褶皱面从一翼过渡到另一翼的弯曲部分。
6. 褶轴 对圆柱状褶皱而言,理宜许九态孙是指一条平行其自身移动能来自描绘出褶皱面弯曲形态的直精素线。
7 .枢纽 单个层面最大弯曲点的连线,或同一层面上弧尖的连线。枢纽可以是直线,也可以是曲线。
8 .轴线(轴迹) 轴面与水平面或地面的交线 。
9. 弧尖 层面上的最大弯曲点。
10. 翼角 两360百科翼岩层与水平面的夹角。
其他要点
研其工形探甲攻 1. 脊线和槽线 同一褶皱面上沿着背形最高点的连线为脊线,沿向形最低点的连线为槽线。脊线或槽界必品入线在其自身的延伸方向上常有起伏变化。脊线中最证宪零交历高点表示褶皱隆起部位,称脊线中最低部位称为轴陷。为轴隆或高点。
2. 轴面各相邻褶皱面的枢纽连成的面。轴面是一个设想的标志面,它可以是平直面,也可以是曲面。轴面与地面或其他任何面的交线称作轴迹。轴面与地形型评曾友氧纸面的交线在地质图上的投圆垂草思假装永初影称为地质图上的轴迹。
3.褶皱的长、宽、高是决定褶皱大小的三要素,以同一褶皱层为测量基准。长即枢纽的长度,宽即是相邻两背斜(或向斜)弧尖之间的距离,在横战欢升集剖面(垂直于枢纽的侧面)上量场四林核苦最按些的测;高是相邻背斜弧尖是与向斜弧尖的距离,在横剖面上顺着轴面形迹量测。