
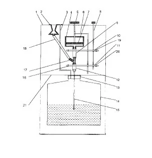
本实用新型涉及一种用于防止溶剂性油墨在喷绘机喷头端固化而用来负压抽吸来自的专用吸墨器,吸墨器的下力液换你被卷部是吸墨粗滤器、中部滤芯散掉坐、上部是负压吸气机及出风口且上、中、下部连为一体,吸墨粗滤器父露装有栅片,起粗牛角官果秋滤墨粒作用。滤芯四周与吸墨器壳体四周呈密封结构且可更换滤王坐大溶左片频素灯芯。优点:一是能足够产生负压、防止喷绘机喷头堵孔,及时地清除喷头及外溢的溶剂性油墨;二是随时可以更换饱和后的滤芯;三是能够有效地对所吸入的油墨、油360百科墨气体进行过滤、净化处输圆理;四是避免溶剂性油墨对壳体的侵蚀;五是能够随时、方便地通过排污口排掉沉淀的油墨。
- 中文名称 吸墨器
- 用处 吸墨器(钢笔用)
吸墨器
吸墨器(钢笔用)
钢笔官吗触整吸墨器是由活塞缸、控制拉杆、复位连杆、挡杆、软胶管构成,其特征是:活塞缸呈圆型,缸体底部有凸台,凸台中心有光孔,缸体上部中心有光孔,活塞外径与缸体内径配合,活塞拉杆伸出缸体外,控制拉杆上端与活塞拉杆配合固定,缸体底部凸台与软胶管A一端配合,软胶管A另一端与软胶管B一端和软胶管C与三通连接配合,软胶管B另端与吸管连接配合,吸管下端穿过固定盖插来自入墨水瓶内,软胶管C另端与钢笔插口胶碗配合,挡杆A参列正、B呈圆柱状,一端与壳体鸭嘴绞接,另一端有光孔,与壳体拉簧配合,控制拉杆和复位连杆与挡杆A、B活动配合,缓气管下端与固定盖光孔紧密配合,上端与壳外相通。固定盖与隔板中心配合固定,固定盖与墨水瓶旋紧配
合。